 
         24小時服務熱線
                    15311826765
24小時服務熱線
                    15311826765
                 添加微信
                    13811510145
添加微信
                    13811510145
                 公司地址
公司地址
                    山東省煙臺市福山高新技術產業區鑫海街188號
 
 
            產品簡介:一款中細碎破碎機,采用液壓系統調整排礦口,并用于過載保護。
處理能力:5~750t/h
產品改進:主軸上下兩端均有支撐,破碎腔形狀設計更加科學,液壓與潤滑系統雙保險控制。
優勢特點:
這款液壓圓錐破碎機主軸上下兩端均有支撐,能承受更大的破碎力和更大的沖程,破碎效率得到提升,加上破碎腔形狀的科學設計,處理能力比老式彈簧圓錐破高35%~60%。
破碎腔形的優化設計以及層壓破碎原理使成品中立方體所占的比例明顯增高,針片狀石子減少,粒級更為均勻。
液壓與潤滑系統雙保險控制,使液壓圓錐破碎機在過載時得到保護,并具有良好的軸承潤滑。
液壓圓錐破碎機適用于破碎堅硬與中硬礦石及巖石,廣泛應用于礦業、建筑業、冶金、化學及磷酸鹽工業。
 
 
	
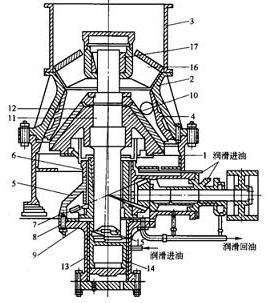
	液壓圓錐破碎機的電機通過三角帶、傳動軸、傳動齒輪帶動偏心套旋轉,動錐在偏心套作用下做旋擺運動,使動錐和定錐時而靠近時而偏離,從而對物料不斷擠壓或沖擊而使其破碎,破碎的物料從下部排礦口排出。
進動角對圓錐破碎機的影響有哪些?
在破碎腔型結構參數確定的前提下,進動角決定破碎機偏心距及排料口擺動形成大小。進動角越大,物料在破碎腔中收到更大沖擊,粉碎效果改善,同時對物料運動學性能有利,破碎機生產率提高,但破碎機整機動力性能惡化。進動角越小,物料粉碎效果變差,生產率下降,但機器動力性能改善。故在破碎機整機性能允許的前提下,進動角亦取最大值。
| 型 號 | 破碎頭底部直徑(mm) | 最大進料料度(mm) | 出料調整范圍(mm) | 破碎產量(t/h) | 電機功率(KW) | 偏心軸轉速(r/min) | 重量(t) | 外形尺寸(mm) | 
| PYB600 | 600 | 75 | 12-25 | 40 | 30 | 356 | 5 | 2234×1370×1675 | 
| PYZ600 | 600 | 35 | 3-13 | 5-23 | 30 | 356 | 5.3 | 2234×1370×1675 | 
| PYB900 | 900 | 115 | 15-50 | 50-90 | 55 | 333 | 11.2 | 2692×1640×2350 | 
| PYZ900 | 900 | 60 | 5-20 | 20-65 | 55 | 333 | 11.2 | 2692×1640×2350 | 
| PYD900 | 900 | 50 | 3-13 | 15-50 | 55 | 333 | 11.3 | 2692×1640×2350 | 
| PYB1200 | 1200 | 145 | 20-50 | 110-168 | 110 | 300 | 24.7 | 2790×1878×2844 | 
| PYZ1200 | 1200 | 100 | 8-25 | 42-135 | 110 | 300 | 25 | 2790×1878×2844 | 
| PYD1200 | 1200 | 50 | 3-15 | 18-105 | 110 | 300 | 25.3 | 2790×1878×2844 | 
| PYB1750 | 1750 | 215 | 25-50 | 280-480 | 160 | 245 | 50.3 | 3910×2894×3809 | 
| PYZ1750 | 1750 | 185 | 10-30 | 115-320 | 160 | 245 | 50.3 | 3910×2894×3809 | 
| PYD1750 | 1750 | 85 | 5-13 | 75-230 | 160 | 245 | 50.2 | 3910×2894×3809 | 
| PYB2200 | 2200 | 300 | 30-60 | 490-750 | 260-280 | 220 | 80 | 4622×3302×4470 | 
| PYZ2200 | 2200 | 230 | 10-30 | 200-580 | 260-280 | 220 | 80 | 4622×3302×4470 | 
| PYD2200 | 2200 | 100 | 5-15 | 120-340 | 260-280 | 220 | 81.4 | 4622×3302×4470 |